随着半年报渐次披露,多家上市公司参控股基金公司上半年盈利情况也随之曝光,去年垫底的江信基金今年上半年度再度亏损超两千万元,连续四年的亏损似乎已是板上钉钉。
值得一提的是,江信基金在过去六年内“一基未发”——自2017年8月成立江信增利货币后,至今未有新产品成立,这也导致管理规模长期在30亿元以下徘徊,即便是在2020年和2021年基金“出圈”的大年里也未有起色,“与世无争”地排名在公募基金公司的尾部。
值得一提的是,权益类产品更能体现基金公司的投研能力,但公司旗下两只混合基金业绩均不尽如人意。以江信同福为例,该基金成立至今业绩为53.5%,看似可观,但作为一只成立于2015年8月的产品,同期成立的基金翻倍乃至数倍的不在少数;另一只混合基金江信瑞福成立于2017年,经过六年半的行情,业绩甚至告负,当前净值依旧在1元以下。
六年未有新发
根据国盛金控日前披露的财务数据,联营公司江信基金2023年上半年净亏损2229.97万元(造成国盛金控投资亏损668.99万元)。上年同期净亏损2495.59万元,营业收入904.37万元,同比下降5.52%;总资产为1.01亿元,上年同期总资产为1.63亿元;净资产为8583.91万元,上年同期净资产为1.51亿元。
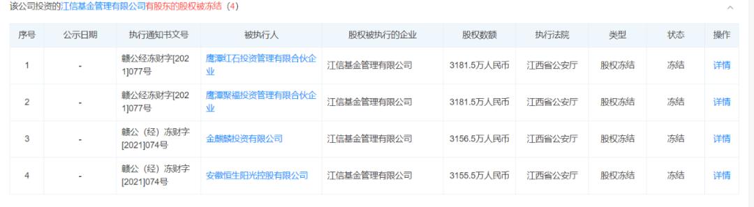
江信基金成立于2013年1月,从股权结构来看,其控股股东为国盛证券,持股30%,国盛证券为国盛金控的全资子公司;其余四家股东为金麒麟投资有限公司、鹰潭红石投资管理有限合伙企业、鹰潭聚福投资管理有限合伙企业、安徽恒生阳光控股有限公司,分别持有17.5%的股份,不过目前四家公司的股权状态均显示为冻结。
公司成立之初的几年里发行数只基金,管理规模从2015年9亿元增至2017年第三季度的40亿元左右,然而已经是江信基金的“巅峰”,从此之后规模就在30亿以下徘徊,即便是在2020年和2021年基金“出圈”的大年里也未有起色,截至今年二季度末江信基金管理规模为29.67亿元,“与世无争”地排名在公募基金的尾部。
值得一提的是,江信基金在六年内“一基未发”——自2017年8月成立江信增利货币后,连续六年未有新产品成立。有业内人士指出,股东方国盛金控这些年的实控人持续更迭,导致旗下江信基金新发基金存在较多障碍,也因此错过了发展黄金期。
而裹足不前的规模给股东方带来的影响即是连年亏损,2017年是江信基金规模最高的一年,随后年份便屡次陷入亏损的境地。
据国盛金控年报数据显示,江信基金在2015年、2016年、2017年三个报告期内分别实现净利润1823.76万元、908.91万元和63.32万元;到了2018年江信基金就已开始出现亏损,净利润亏损金额达1233万;2019年,江信基金净利润扭亏为正,实现净利润42.51万元;2020年江信基金净利润再度亏损1034.72万元;2021年全年,江信基金净利润亏损2115.89万元。2022年亏损增大,达6671万元,已是连续第三年亏损,国盛金控投资江信基金股权的账面收益也在去年大幅减值,权益法下确认的投资收益减少约2033.30万元。
事实上,早在2016年,国盛金控就公告国盛证券有意将其持有的江信基金30%股权转让给中江信托。
关于转让江信基金参股权原因,国盛金控称子公司只是参股,“江信基金当前业务结构相对单一,发展比较缓慢,不能满足公司在公募基金行业业务发展诉求。基于整合资源、优化资源配置的安排,国盛证券将所持江信基金股权全部予以转让。”然而因中江信托不符合股东资格,此番转让最终不了了之。
业绩长期跑输同类
数据显示,目前江信基金旗下一共有9只基金,其中有7只为固收类基金,另外两只为灵活配置基金。以规模最大的混合债基江信添福A为例,该基金成立于2016年,截至二季度规模为8.86亿元左右,此外,权益类产品更能体现基金公司的投研能力。以江信同福A为例,该基金成立至今业绩为53.5%,看似可观,但作为一只成立于2015年8月的产品,同期成立的基金翻倍乃至数倍的不在少数,另一只混合基金江信瑞福A成立于2017年,经过六年半的行情,业绩甚至告负——截至8月24日基金净值为0.9987元,下跌0.13%,而上述两只产品在年内也不出意外地分别下跌11.59%和6.52%。
上述江信瑞福的业绩疲软与基金经理毫无定力的持仓风格有关,从重仓股来看,该基金每个季度将十大重仓股全部更换是稀松平常事,2022年末,前十大重仓股为纳芯微、力合微、德赛西威等个股,今年一季度就换成了通富微电、大金重工、锦浪科技等,而随着人工智能板块的爆火,二季度末又重仓了拓尔思、完美世界以及同花顺等达到阶段性高位的个股。
业绩不佳以外,江信基金的人员变动也较为频繁,近期,公司本就不充裕的基金经理团队再度减员。
8月17日公告,江信同福灵活配置混合型证券投资基金从8月19日起解聘基金经理王安良。
6月30日,江信基金管理有限公司发布基金经理变更公告,杨鹏飞离任江信增利货币、江信汇福定开债;同日,江信聚福定开债增聘基金经理马超然,原基金经理静鹏离任。
5月5日,江信基金发布基金行业高级管理人员变更公告,督察长严命有因职务调整离任,总经理焦毛代任督察长。
